Patent:SE43216
| Patent: | SE 43216 |
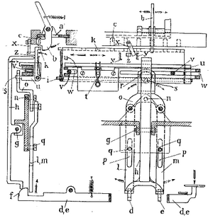
| Titel: | Anordning för slädens förskjutning vid räknemaskiner |
| Datum: | 12.05.1916 |
| Ort: | Braunschweig |
| Land: | Schweden |
| Person: | Schaller, Carl (P) |
| Firma: | Grimme, Natalis u. Co. (P) Commanditgesellschaft auf Actien |
| Links im Rechnerlexikon: | |
| Schlagworte: | |
| Link zum Patentamt: (ohne Garantie) | SE43216 |
![[Hauptseite]](/upload/wiki.png)
Hauptseite

SE43216