Patent:SE46269
| Patent: | SE 46269 |
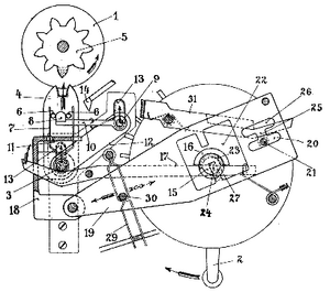
| Titel: | Drivanordning för rotationsräkneverket vid räknemaskiner |
| Datum: | 27.05.1916 |
| Ort: | Braunschweig |
| Land: | Schweden |
| Person: | Schaller, Carl (P) |
| Firma: | Grimme, Natalis u. Co. (P) |
| Links im Rechnerlexikon: | |
| Schlagworte: | |
| Link zum Patentamt: (ohne Garantie) | SE46269 |
![[Hauptseite]](/upload/wiki.png)
Hauptseite

SE46269