Patent:US2208147
| Patent: | US 2208147 |
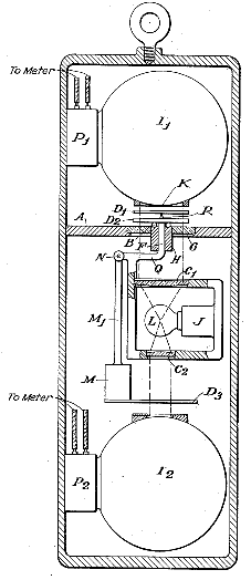
| Titel: | Photoelectric Inclinometer |
| Datum: | 17.01.2011 |
| Ort: | |
| Land: | USA |
| Person: | J. D. Eisler |
| Firma: | |
| Links im Rechnerlexikon: | |
| Schlagworte: | |
| Link zum Patentamt: (ohne Garantie) | US2208147 (espacenet), US2208147 (uspto) |
- DATUM: 16.07.1940
- TITEL: Photoelectric inclinometer
- PERSON: STANOLIND OIL GAS CO
![[Hauptseite]](/upload/wiki.png)
Hauptseite

US2208147